TTP-0418タスビジョン(TUSS Vision)<CCTVレンズ専門店:秋葉原ユニエル電子(Home)
有限会社ユニエル電子 ※ These products are sold only in Japan. お問い合わせ サイトマップ

■TUSS Vison (タスビジョン)
TUSS Vision

[メーカー紹介:タスビジョン馨 https://www.tussvision.com/
1984年創業の産業用(工業用・FA用)レンズの設計・開発・製造会社


 TTPシリーズ:2MP(200万画素)対応) 1/3" CSマウント

■2メガピクセル(200万画素)対応ピンホールレンズ(CSマウント)
特徴:ロックビス搭載(フォーカス/アイリス)
手動縛り(TTP-0418
)・DC駆動絞り(TTP-0418D)の2タイプ

※ 2MP(メガピクセル)=200万画素
焦点距離

絞り値

絞り機構

最短撮影距離

対応カメラ

価格:消費税10% メーカー 型番 備考
4mm F1.8- 手動 0.15m 1/3"型CS お尋ね下さい。 TUSS TTP-0418 2MP
(200万画素)
4mm F1.8- DC駆動 0.15m 1/3"型CS お尋ね下さい。 TUSS TTP-0418D 2MP
(200万画素)

型 番 TTP-0418
価格
消費税10%
お尋ね下さい。
焦点距離 4mm
絞り範囲 F1.8-
最短撮影距離 0.15m
適合撮像素子 1/3"型
マウント CS-mount
画角(1/3"時) 68.9°(水平)
本体寸法 32φ×82(-)Lmm
本体重量 75 g
フィルター径 -
絞り/距離 手動/手動

TPP-0418
TTP-0418寸法図
4 mm
1/3 "型CS

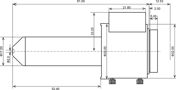
型 番 TTP-0418D
価格
消費税10%
お尋ね下さい。
焦点距離 4mm
絞り範囲 F1.8-
最短撮影距離 0.15m
適合撮像素子 1/3"型
マウント CS-mount
画角(1/3"時) 68.9°(水平)
本体寸法 39.75×33×81(-)Lmm
本体重量 93.5 g
フィルター径 -
絞り/距離 DC/手動
ケーブル長 200mm
DCコネクタ E4-151J等
EIAJ準拠

TTP-0418D
TTP-0418D寸法図
4 mm
1/3 "型CS・DC駆動

[▲TOP]